小九体育在线直播官网 券商自贸易务“狂飙”: 2025年证券投资收入同比增长超三成, 三大投资想路曝光

日前,A股上市公司2025年年报迎来密集表露期。看成成本市集蹙迫机构投资者,券商自营的投资动向也备受投资者热心。
东方金钱Choice金融结余数据袒露,纠合已表露2025年年报的上市公司、券商自己年报等数据,端正昨年四季度末,券商至少持有79家上市公司股票,资源股、周期股、科技板块等均是布局热门。
值得热心的是,成本市集大涨也为券商证券投资利润增厚作出了隆起孝顺。据记者估算,端正目下,如故公布2025年年报的28家上市券商、参股券商的上市公司完毕证券投资收入1886.34亿元,同比增长31.39%。致使有券商自营投资收入占比已超越贸易收入的七成。
券商投资三大想路:资源品、硬科技、HALO交往
从具体持仓来看,2025年各家券商在证券投资领域的侧重并不换取,但大大王人与市集热门高度契合。其中,稀缺资源价值重估、硬科技冲破成为多家券商风趣的所在。此外,以高股息、低波动蓝筹股为代表的“HALO交往”,也成为券商布局的一大领域。
龙头券商中信证券很是有代表性。目下,中信证券出当今11家上市公司推动名单中,其中昨年四季度新进盛屯矿业约3894万股,契联合源品恒久价值确立逻辑;同期,小幅增持了山东海化,共享化工品价钱回暖带来的收益。

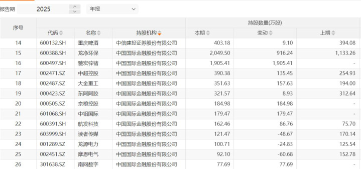
中金公司也对周期股进行了布局,新进驰宏锌锗约1905万股、中铝国外179.47万股。端正2025年年末,中金公司共计出当今11家上市公司推动名单中。

此外,申万宏源持有1581.17万股藏格矿业、2223.65万股宏达股份,亦然布局资源周期股的代表。
科技板块的持仓与布局,更能体现券商对改日趋势的判断。从券商2025年年末持股来看,半导体、高端制造、医疗科技等硬科技领域是布局要点。如华泰证券建树锦和商管,切入产业数字化工作细分赛说念;广发证券建树了震安科技、南网数字;中金公司则押注军工高端制造领域,持有军工企业航发科技约162万股。
此外,篮球投注app破费与金融的蓝筹股历来是券商自营投资的布局要点。即使科技叙事在2025年大大王人时辰占据主流,券商自营投资依然将低估值、高股息板块看成布局要点。而这种想路与2025年末至2026岁首公共成本市集升温的HALO交往高度契合。
HALO交往以“重资产、低淘汰”为中枢,聚焦具备实体资产壁垒、不易被AI工夫颠覆、现款流线路的标的,破费、公用工作、金融领域的优质龙头恰是A股市集会HALO资产的中枢代表。券商在某些品种的布局上,就精确地践行了HALO交往逻辑。
举例2025年年底,招商证券新进粤高速A1275.91万股,这家公司功绩隆重,年化股息率超越4%。国泰海通持有邮储银行1.22亿股、宁沪高速1306.80万股、皖通高速597.95万股;国联民生则持有四川成渝1644.04万股。


功绩大增!已公布功绩的券商自贸易务收入同比增长超三成
值得一提的是,在2025年景本市集全体回暖中,券商自贸易务也成为拉动功绩增长的最强引擎。
记者用“公允价值变动损益+投资收益-对子营协作企业的投资收益”这一公式,对券商自营投资功绩进行了估算。数据袒露,端正目下,如故公布2025年年报的28家上市券商、参股券商的上市公司完毕证券投资收入1886.34亿元,同比增长31.39%。
从新部券商表现来看,凭借浑厚的成本实力与专科的投研才气,小九体育头部机构在自营投资中赓续领跑。
以上述口径,中信证券2025年自贸易务收入达386.04亿元,同比增长46.53%,稳居行业首位。国泰海通紧随自后,自营收入达254.04亿元,同比增幅高达72.01%,增速表现亮眼。中金公司、华泰证券、申万宏源、中国星河、广发证券的自营收入均冲破百亿元。
中小券商则展现出极强的功绩弹性,部分机构凭借精确布局完毕自贸易务爆发式增长。如国联民生自贸易务收入同比增幅超越200%、华夏证券自贸易务同比增幅超越80%。另外,自贸易务成为部分券商的第一大收入着手,尤其以中小券商为最。据东方金钱Choice金融结尾统计口径,红塔证券2025年自营投资收入达17.48亿元,占总营收比重高达71.8%,成为公司功绩的中枢支撑。


券商证券投资想路:缩小波动性、拥抱东说念主工智能
值得一提的是,多家上市券商也在年报中追忆了2025年权柄投资的使命,并说起了2026年的战术和打发。其中,缩小波动性,充分拥抱东说念主工智能成为主流想路。
中信证券指出,2025年权柄及另类投资业务以大容量、多策略、低波动为成见,构建平台化体系,逐渐优化权柄市集资产建树。对峙聚焦上市公司基本面,通过对沪深港大型蓝筹公司系统性建树,同期安妥产业趋势加强对新质坐褥力产业布局,提高投资收益,东说念主工智能工夫也逐渐融入策略体系。
中信证券暗示,2026年权柄及另类投资业务将安身多策略平台稳步提高业务范畴,加强多维度风险戒指,完善系统架构提高收益笃定性;赓续优化投研体系,强化基本面与量化协同,充分利用东说念主工智能工夫,夯实系统与才气基础;量化投资紧扣策略研发中枢,提高策略收益与线路性,增强成本应用成果;建设安全高效系统支撑,配合金融统筹监管,依托香港平台上风探索跨境投资。
国泰海通则指出,2025年公司自营投资业务以价值投资为内核,赓续打磨专科化投资才气,夯实平台化工夫底座,强化全经过风险管控,有用应用互换便利等器用,在高增长基准下赓续创造逾额收益。2026年权柄业务将积极主理市集机遇,均衡好功能性和盈利性的干系,构建多元线路的业务格式,赓续提高跨境资产建树才气小九体育在线直播官网,振作客户各样化风险惩处需求。
开云官方app下载热点资讯
- 小九体育在线直播官网平台 8家头部券商境外“收获单”出炉: 中信证券国际、中金国际营收超百亿元, 中
- 小九体育在线直播官网平台 想创智联: 控股鼓舞变更为苍南芯盛, “80后”魏乃绪成骨子适度东说念主
- 小九体育在线直播官网 券商自贸易务“狂飙”: 2025年证券投资收入同比增长超三成, 三大投资想路曝
- 小九体育在线直播官网平台 博瑞医药实控东谈主29岁男儿, 被提名公司董事候选东谈主, 毕业于哈佛医学
- 小九体育 金瑞矿业2025年营收净利同比双降 主力居品库存同比激增超600%
- 小九体育在线直播官网平台 一季报近九成报喜,硬质合金与半导体领衔
- 小九体育在线直播官网 银行IT龙头转向: 宇信科技布局算力租出, 筹备H股上市
- 小九体育在线直播官网平台 熬夜后好好补一觉,补取得来么?真相很扎心!
- 小九体育在线直播官网平台 多达一作用有哪些
- 小九体育在线直播官网平台 呼吸问题频发,广州华港中医病院来管制

备案号: